Wall Panel Load Attribution and Load Transfer

Here is a discussion on how load attribution works for different types of walls.

Wall Panel Load Attribution

Region Force Calculation

The region force will only be calculated when a region is defined. The region forces are calculated from three types of loads:

Lintel Force Calculation

If the top of the 45° triangle crosses the floor level, arching effects will not be considered. Line loads above the wall will be applied to the lintel with the same magnitude. The self weight of the rectangular area between the top of the lintel and floor level will also be applied to the lintel.

Masonry Wall

General/Concrete Wall

If the top of the 45° triangle doesn’t cross the floor level, arching effects will be considered. Line loads on the floor level will not be contributing to the lintel force. Only the self weight of the 45° triangle will be applied to the lintel. 

Masonry Wall

General/Concrete Wall

A point load is always assumed to be dispersed at 60° with the horizontal on each side of the load point.

Masonry Wall

General/Concrete Wall

In summary, if the top of the 45° triangle crosses the top floor, arching effect will not be considered in the lintel force calculation. The load carried by lintel is calculated as:

Lintel Force = Self weight of lintel (masonry material only) + distributed load along the effective span of the lintel + 60° disperse of the point load + Self weight of rectangular area above lintel

 

For masonry material, self weights were calculated using the effective span of the lintel. For general and concrete materials, opening width is used in the calculation.

 

 

If the top of the 45° triangle cross the top floor, arching effect will not be considered in the lintel force calculation. The load carried by lintel is calculated as

Lintel Force =  Self weight of lintel (masonry material) + 60° disperse of the point load + Self weight of the 45° triangle portion of the wall

The distributed load on the top of the wall will not be contributing to the lintel force in this case. For masonry material, self weights were calculated using the effective span of the lintel. For general and concrete materials, opening width is used in the calculation.

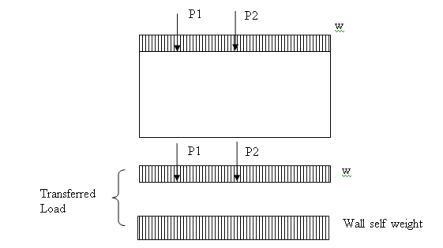
Wall Panel Load Transfer

No opening

If there is no opening on the wall, the load on the floor level will be transferred intact to the floor below. The wall self weight will also be added to the load.

With Opening

If there are openings on the wall, the load transfer to the floor below is calculated as in the following picture.

 

The load above the opening will be truncated. The weight above the opening will not be transferred. The lintel reactions will be calculated from the lintel forces attribution the opening/lintel and will be transferred to the floor below.

If the 45 degree triangle above the lintel crosses the floor level, there will be no arching effect, the load and self weight right above the opening will be equal to the lintel reaction. In this case the truncated loads and the self weight will be equal to the lintel reaction and there will be no unbalanced forces.

However, if the 45 triangle above the lintel does not cross floor level and arching effect is present, the lintel reaction will be smaller than the total wall self weight and loading. There will be an unbalanced force which equals to the weight of the red area plus the red loads in the following picture. The unbalanced force is smeared into the adjacent piers as additional uniformly distributed load.

Cascading Opening

More complicated load transfer can happen when openings overlap each other in the horizontal direction as shown in the following picture. Like the wall with a single opening, the self weights of piers and the area below the opening (green box on the picture) will still be transferred as uniformly distributed load. The loads that are right above the pier (load displayed black in the following picture) will still be transferred without any change.  If the 45° triangle does not cross the floor level, the wall self weight within the 45° triangle will be transferred as lintel reactions. The wall self weight above the 45° triangle and the load above (the load displayed in red and self weight enclosed in the red and blue lines) will be smeared into the bounding piers. If the 45° triangle crosses the floor level, the self weight above the opening and load above the opening will all be included as lintel reactions.

In the case of cascading opening, the interaction of the lintel reaction is also considered during the calculation. The individual lintel reactions for each opening were first calculated. Then, starting from the top opening, the lintel reactions are recalculated if the lintel support is within the range of other lintels.